111,60 €120,00 €Verkaufspreis-7% off
Preis
111,60 €120,00 €Verkaufspreis-7% off
Preis

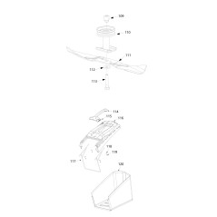
Grasfangkorb für Rasentraktoren und Rasenmäher, ideal für mühelose Gras- und Schmutzaufnahme. Kompatibel mit verschiedenen Modellen für effizientes Mähen. Aus robustem Material gefertigt, bieten sie hohe Kapazität und Langlebigkeit.
857 products